Soffit Vent
Owned by Patent Owner • Listed on Mon Feb 16 2026
Login or create account to view owner information
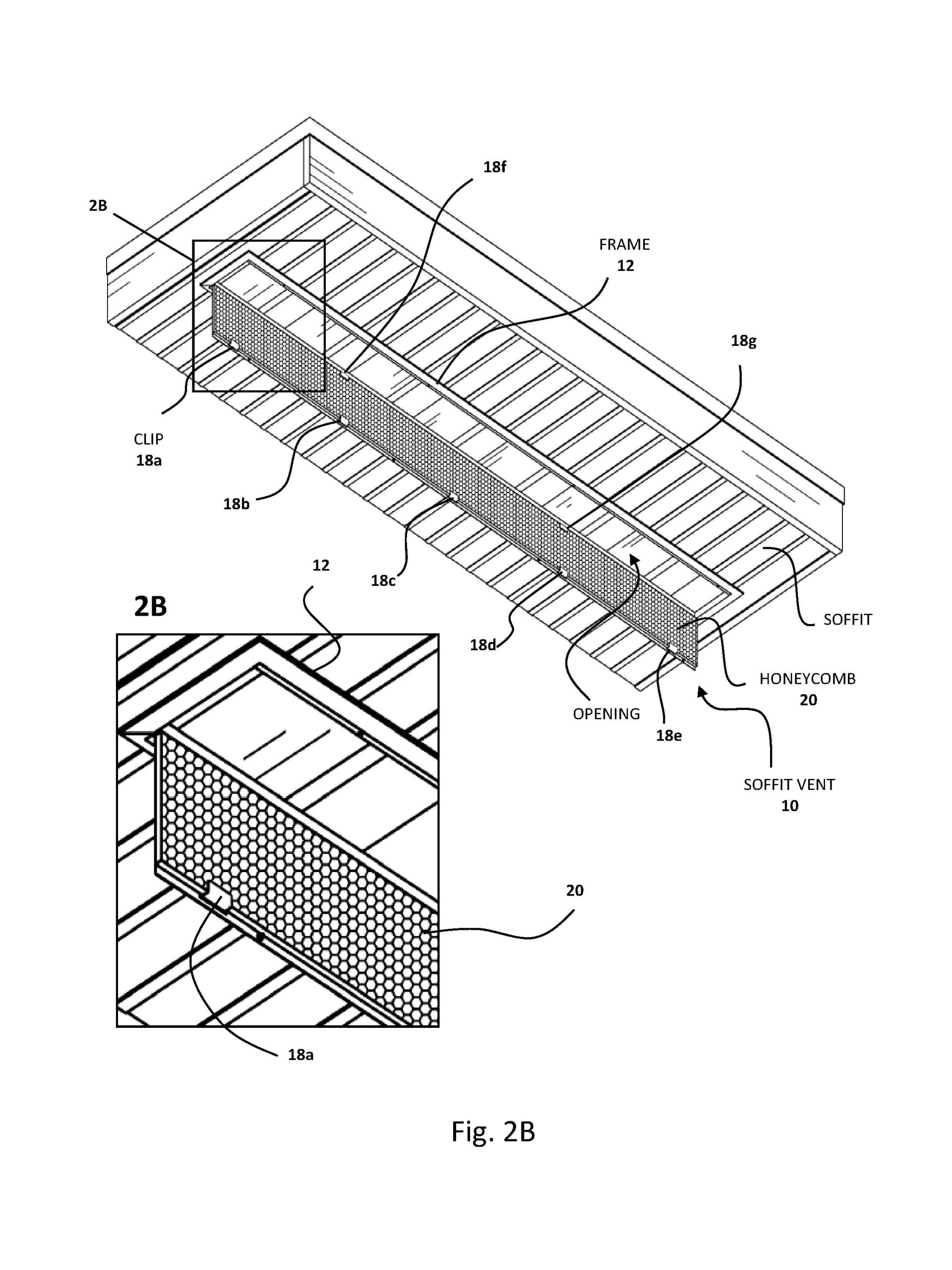
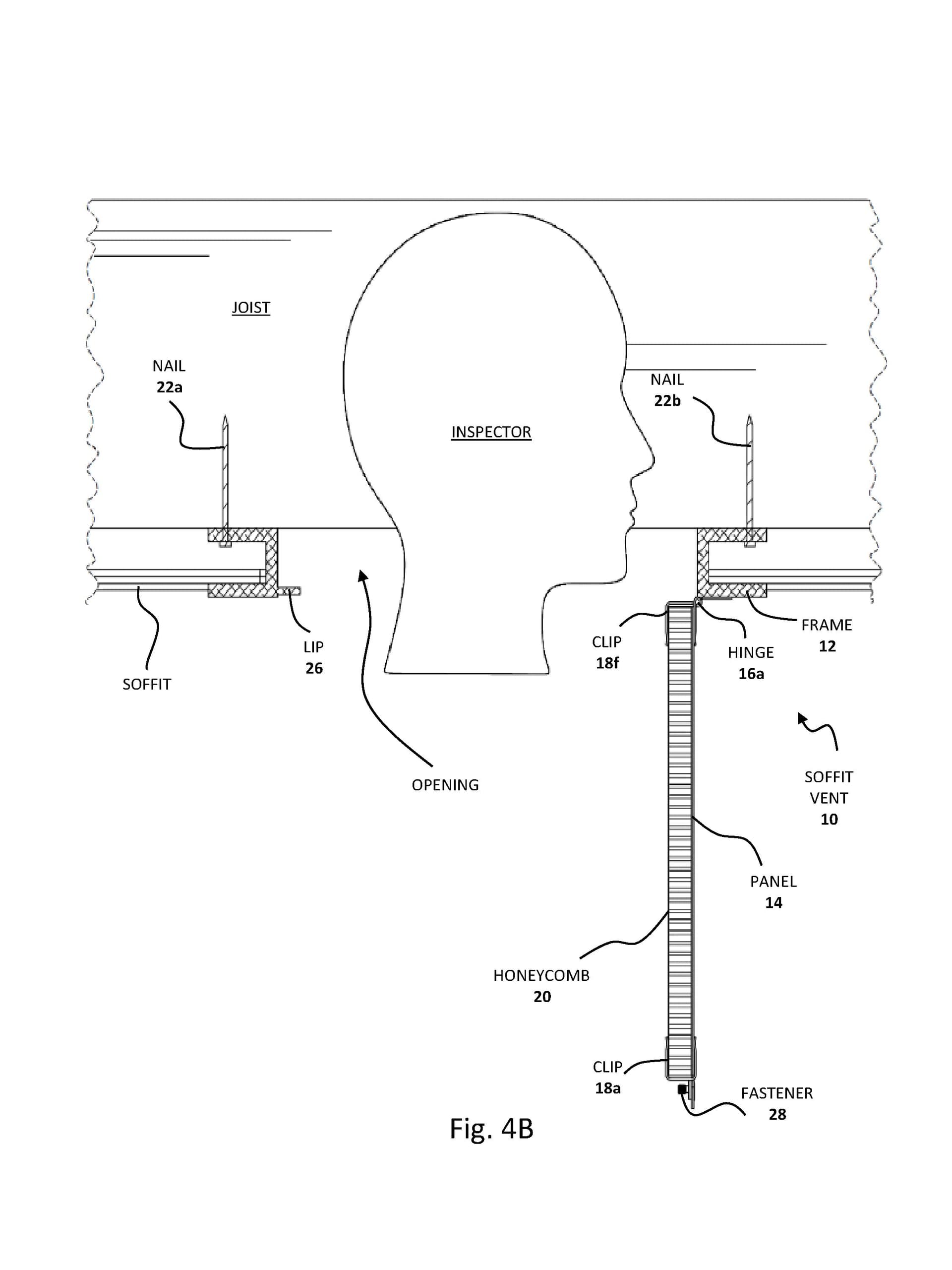
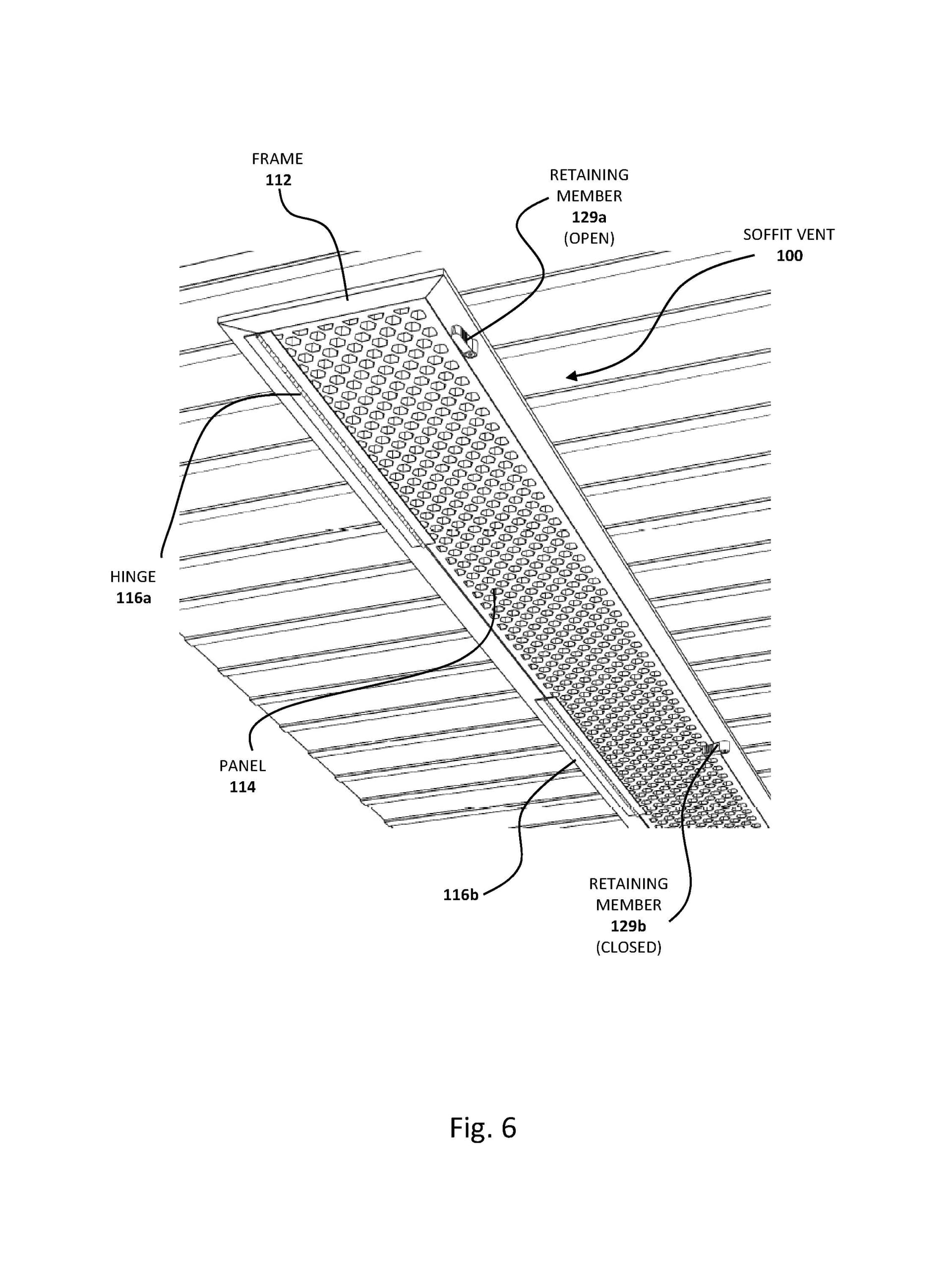
There is a second patent 11855133 that further defines the soffit vent installation requirements. The patents are both national and Canada. The soffit vent was designed out of a need for new California laws in the construction industry. June of 2015 in Berkeley CA a balcony collapsed killing several people, investigations revealed the balcony soffit (underside) had no ventilation nor an ability to properly inspect the structure for damage/failure. CA adopted Civil Code 5551 mandating inspections of all exterior elevated elements (EEE's), balconies, decks, stairways. Most EEE's are sealed shut with stucco and/or plywood, this specialty designed vent will allow installation with existing construction or new construction. The vent complies with CA State Building requirements including fire safety so no need to worry about building design ratings when installed. This is a CA law that will be required in all other states soon. The vent allows access for inspections, necessary ventilation and fire safety, all design requirements ahead of code and assisting with wildfire driven designs. CA has over 45k condo associations requiring these inspections and corrective measures for inspection, ventilation and fire safety.
Patent_11408179.pdf
Patent Document
11408179
Patent Number
United States
Country Issued
Specifications
Patent Type
Design
Categories
Prototype
No
Expiry
Not Expired
Pricing
License Information
Available for License
Research Included
None
Cost Model
None
Owners
Patent Owner
Owns 75%
Login or create account to view owner information
Pricing
Owner Distribution
Patent Owner
Login or create account to view owner information





